产品中心 / Product
日立玛钢法兰旋启式止回阀 M20KFCS
日立玛钢法兰旋启式止回阀 M20KFCS

主要零件材料

   

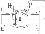
主要外形尺寸

温度压力范围