产品中心 / Product
日立玛钢法兰止回阀 M300FCS
日立玛钢法兰止回阀 M300FCS

主要零件材料

         

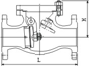
主要外形尺寸

温度压力范围