产品中心 / Product
日立锻钢波纹管承插焊截止阀 T800WGB1-S
日立锻钢波纹管承插焊截止阀 T800WGB1-S

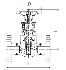
主要零件材料和外形尺寸

                  

温度压力范围