产品中心 / Product
日立波纹管截止阀 T150FGB1-S
日立波纹管截止阀 T150FGB1-S

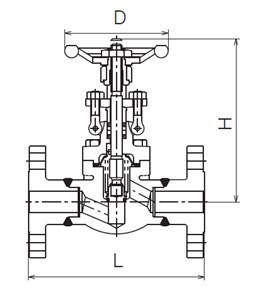
主要零件材料和外形尺寸

                 

温度压力范围