产品中心 / Product
日立波纹管截止阀 U10FGB
日立波纹管截止阀 U10FGB

主要零件材料

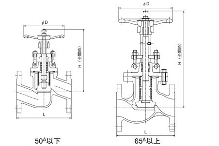
主要外形尺寸

温度压力范围